檸萌影業申請注冊“三十而已空山茶”商標 國際分類涉及食品、方便食品
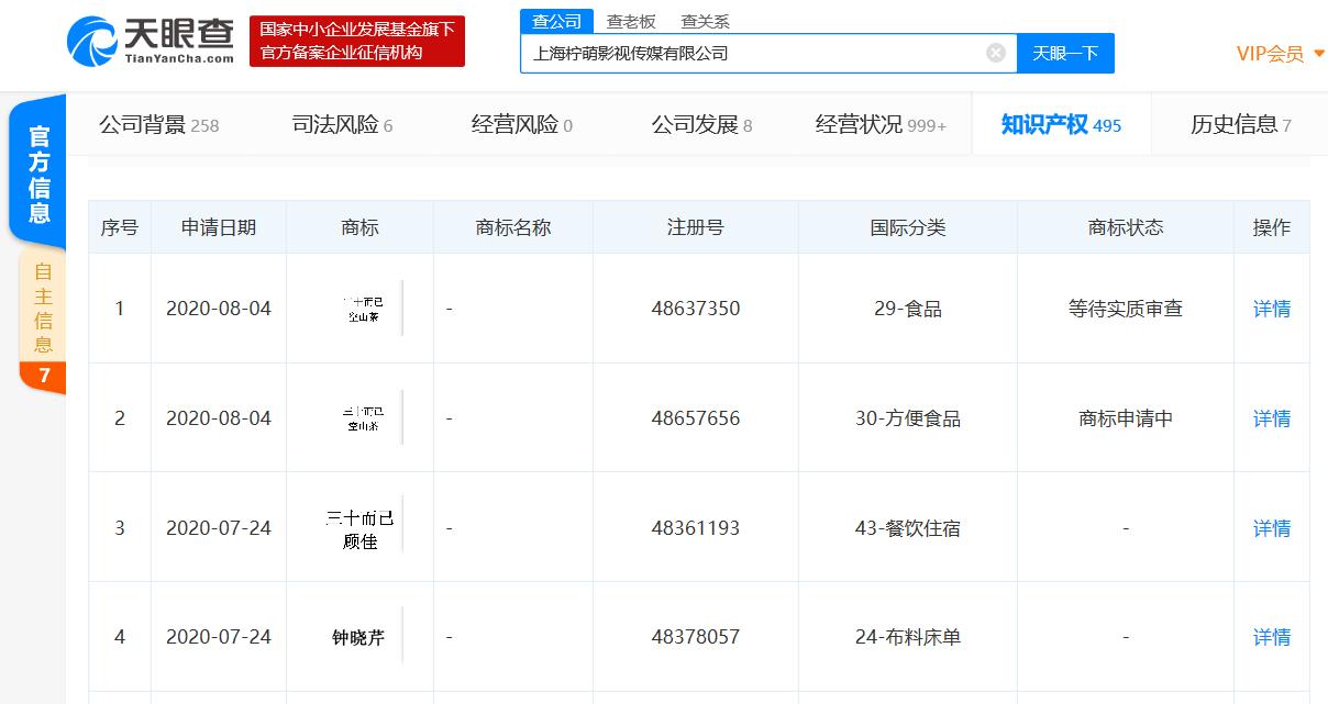
天眼查APP顯示,近日,上海檸萌影視傳媒有限公司新增商標信息,名稱為“三十而已空山茶” ,國際分類涉及食品、方便食品,商標狀態顯示為“等待實質審查”及“商標申請中”。
上海檸萌影視傳媒有限公司成立于2014年7月,定代表人為蘇曉,注冊資本約529.77萬人民幣,經營范圍包括廣播電視節目制作、發行、電影發行、影視文化藝術活動交流策劃、舞臺藝術造型策劃、文學創作等。
據紅星資本局報道,電視劇《三十而已》的出品方即上海檸萌影視傳媒有限公司(簡稱“檸萌影業”),《好先生》、《小歡喜》、《小別離》等影視劇也是由其制作。
另據人民政協網報道,熱播劇《三十而已》中,女主角顧佳接手了一家瀕臨破產的茶廠,從初入茶山時的失望,到挖掘當地生態有機的特色,再到為“茶香也怕巷子深”尋找新出路,將劇情引入了一個為幫扶茶區奔波的創業高潮。在劇中,顧佳將茶命名為“空山茶”。
值得注意的是,天眼查APP顯示,今年7月,上海檸萌影視傳媒有限公司還申請了多個與電視劇《三十而已》相關的商標,包括“三十而已顧佳”、“三十而已”、“鐘曉芹”、“王漫妮”等。


鄭重聲明:用戶在發表的所有信息(包括但不限于文字、圖片、視頻、音頻、數據及圖表)僅代表個人觀點,與股民學堂立場無關,所發表內容來源為用戶整理發布,本站對這些信息的準確性和完整性不作任何保證,不對您構成任何投資建議,據此操作風險自擔。
- 上一篇:時代變局!中國城市人口即將大洗牌!
- 下一篇:這個818理財節 券商“玩嗨了”
